先說電腦走線 我是自然下垂派 沒特別走線 只有夾在VG289Q 後面的那個整線洞 前陣子換東西補了一些線 所以有買 HDMI 2.0 百元線 還有一條 極細線 最近幾個禮拜 發現PC偶發性4K螢幕花掉 還有調整東西碰到線黑螢幕 到昨天晚上才發現可能的原因 接口設計跟自然下垂走線 polywell百元線(碰到就黑螢幕) 紅圈內黃線約1mm https://i.imgur.com/KR1DZxc.jpg
polywell極細線(用力搖晃也正常) 紅圈內黃線約0.5-1mm之間 偏向1mm https://i.imgur.com/XVLm020.jpg
古早以前的大通(用力搖晃正常) 紅圈內黃線約0.5mm https://i.imgur.com/VN1furk.jpg
在最旁邊斜邊的上下高度部分 大通最窄 接著極細 百元 後來再繼續看PS4 NS 螢幕的原廠線 邊邊比較像大通 所以看起來百元線容易花螢幕 可能是那邊太寬加上下垂的應力 造成偶發性接觸不良 只是雖然有保固 但是寄回去如果檢測正常 我還要浪費60元運費 不划算 ----- Sent from JPTT on my iPhone -- ※ 發信站: 批踢踢實業坊(ptt-club.com.tw), 來自: 1.169.8.41 (臺灣) ※ 文章網址: https://ptt-club.com.tw/PC_Shopping/M.1695271126.A.897
E7lijah: 看不出來三條線哪邊不一樣 能再說明一下 27.247.10.28 09/21 12:53
E7lijah: 嗎 27.247.10.28 09/21 12:53
viciousangel: https://i.imgur.com/el7zTM2.jpg 1.169.8.41 09/21 13:00
viciousangel: 原照片中 黑色口的部分 用示意圖 1.169.8.41 09/21 13:01
viciousangel: 藍色圈起來的距離 1.169.8.41 09/21 13:01
TwixBar: 包養平台不意外 1.169.8.41 09/21 13:01
viciousangel: 百元的也看起來比較沒有斜度 1.169.8.41 09/21 13:02
viciousangel: 晚點我再看看量不量的出差距 然後 1.169.8.41 09/21 13:13
viciousangel: 用電腦標示長度 1.169.8.41 09/21 13:13
viciousangel: https://i.imgur.com/KR1DZxc.jpg 1.169.8.41 09/21 13:43
viciousangel: https://i.imgur.com/VN1furk.jpg 1.169.8.41 09/21 13:44
boggicer: 覺得包養網EY嗎 1.169.8.41 09/21 13:44
SAMMY728: HDMI的頭因為沒有固定插頭的設計,比較 180.217.39.242 09/21 13:48
SAMMY728: 容易因碰撞,走線自然垂落而接觸不良。 180.217.39.242 09/21 13:48
SAMMY728: 你可以買個轉接頭,讓他往90度轉,不要 180.217.39.242 09/21 13:48
SAMMY728: 讓hdmi頭自然垂落,這問題應該就好了。 180.217.39.242 09/21 13:48
viciousangel: https://i.imgur.com/XVLm020.jpg 1.169.8.41 09/21 13:52
Chiason: 包養網站葉配啦 1.169.8.41 09/21 13:52
viciousangel: 因為一直以來都是自然走線 而且線 1.169.8.41 09/21 13:58
viciousangel: 材比較偏向大通那種偏0.5mm方向靠 1.169.8.41 09/21 13:58
viciousangel: 所以沒注意到公差影響這麼大 1.169.8.41 09/21 13:58
viciousangel: 像他們家極細線目測約0.9mm 但是小 1.169.8.41 09/21 14:00
viciousangel: 小的0.1mm就有極大的影響 所以如果 1.169.8.41 09/21 14:00
Markell: 記者收了包養網多少啦 1.169.8.41 09/21 14:00
viciousangel: 自然走線派可以參考上面大大推的轉 1.169.8.41 09/21 14:00
viciousangel: 接頭 1.169.8.41 09/21 14:00
viciousangel: 算是給大家做一個參考 除錯比較方 1.169.8.41 09/21 14:03
viciousangel: 便 本來我還以為是我雜牌影音分離 1.169.8.41 09/21 14:03
viciousangel: 器的鍋 1.169.8.41 09/21 14:03
fuoya: 包養真亂 1.169.8.41 09/21 14:03
sova0809: 垂直方向的話通常建議再用綁繩固定對抗 42.77.154.209 09/21 14:15
sova0809: 地心引力 42.77.154.209 09/21 14:15
viciousangel: 百元這條可能要 插拔有感覺比較鬆 1.169.8.41 09/21 14:19
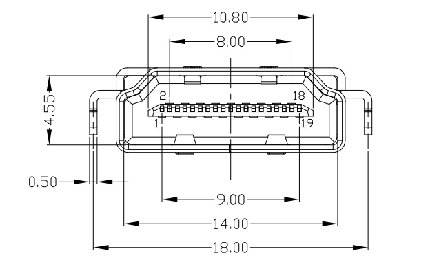
ALDNOAH5566: 有沒有可能是整個外殼就比較小 舌片 42.72.134.83 09/21 14:33
ALDNOAH5566: 的影響沒這麼大 42.72.134.83 09/21 14:33
Apasiri: 演藝圈一堆包養好嗎 42.72.134.83 09/21 14:33
ALDNOAH5566: https://i.imgur.com/bMAZFwN.jpg 42.72.134.83 09/21 14:35
ALDNOAH5566: 母座規格看一下 42.72.134.83 09/21 14:35
viciousangel: 線材外殼我量看起來沒什麼差異(精 1.169.8.41 09/21 14:49
viciousangel: 度只到1mm) 母座的話 同時 螢幕 主 1.169.8.41 09/21 14:49
viciousangel: 機 影音分離器 電視的接口插 搖晃 1.169.8.41 09/21 14:49
litidi: 政治圈一堆包養好嗎 1.169.8.41 09/21 14:49
viciousangel: 都會黑畫面 1.169.8.41 09/21 14:49
viciousangel: 再量一次 在母座圖4.55mm的距離 1.169.8.41 09/21 15:03
viciousangel: 大通約4.5mm 百元4.5mm再少一點點 1.169.8.41 09/21 15:03
viciousangel: 極細也是4.5mm再少一點點 沒到照片 1.169.8.41 09/21 15:03
viciousangel: 那種肉眼看的出差異的感覺 1.169.8.41 09/21 15:03
Merzario: 有錢人一堆包養好嗎 1.169.8.41 09/21 15:03
higali: dp比較穩,hdmi我常遇到接觸不良 111.80.157.243 09/21 15:32
viciousangel: 因為我螢幕接PC跟NS用影音分離接光 1.169.8.41 09/21 15:44
viciousangel: 纖去喇叭 1.169.8.41 09/21 15:44
ohmylove347: 這家的線到底好不好,雖然便宜充電線223.140.178.185 09/21 16:07
ohmylove347: 也不太吃品管就是了223.140.178.185 09/21 16:07
Muzaffer: 學生妹被包養多嗎223.140.178.185 09/21 16:07
jiunmoon: 不太怎好,我有買網路線,就挺兩光 60.249.2.98 09/21 16:56
jiunmoon: ping值落差太大,換了貴一點cat6a線 60.249.2.98 09/21 16:57
jiunmoon: 反而就正常了... 60.249.2.98 09/21 16:57
poi96300: Type-C這家的100W線很耐用 同時京東買 111.82.163.18 09/21 16:57
poi96300: 倍思跟綠聯都開始接觸不良 他還好好的 111.82.163.18 09/21 16:58
MIJice: 亞洲最大包養網上線啦 111.82.163.18 09/21 16:58
b325019: 我買他們家十幾條線還滿正常的,等哪天遇223.136.224.120 09/21 17:05
b325019: 到問題再說223.136.224.120 09/21 17:05
popbitch: 我家的hdmi線都是螢幕或MOD附的,不知道 111.255.67.215 09/21 17:13
popbitch: 什麼版本,不過到現在都還沒遇過出問題 111.255.67.215 09/21 17:14
widec: DP比較穩是因為很多DP線有卡榫吧 1.165.22.192 09/21 17:14
SpyTime: 我哥上包養網被我抓包.. 1.165.22.192 09/21 17:14
viciousangel: 這家應該偏粗勇型 便宜但是公差可 1.169.8.41 09/21 17:25
viciousangel: 能較大 我也買過他們便宜的 c to l 1.169.8.41 09/21 17:25
viciousangel: ighining 短線 線就比原廠 綠聯 麥 1.169.8.41 09/21 17:25
viciousangel: 多多緊很多 1.169.8.41 09/21 17:25
nathan2000: P牌個人完全不推. 114.44.18.82 09/22 13:32
Toth: 有人包養過洋鬼子嗎 114.44.18.82 09/22 13:32
bryan910015: 可以買audioquest的HDMI線品質讚125.228.151.211 09/22 14:29